温馨提示: 如果你想了解更多信息(如产品价格、参数、规格及处理能力等),请联系鑫海客服,我们竭诚为您提供优质的服务和知识分享,鑫海欢迎您的来访!
微信询价
乐发IIIVXJK型机械搅拌式浮选机(俗称"A"型)又名矿用机械搅拌式浮选机,其中,X代表浮选机,J代表机械搅拌式,K代表矿用,如果后面有数字,数字代表该浮选机的容积。它属于一种带辐射叶轮的空气自吸式机械搅拌式浮选机。

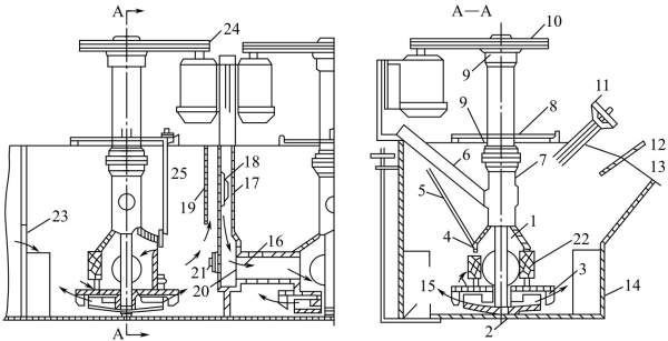
乐发IIIV1—主轴;2—叶轮;3—盖板;4—连接管;5—砂孔闸门丝杆;6—进气管;7—空气管;8—座板;9—轴承;10—带轮;11—溢流闸门手轮及丝杆;12—刮板;13—泡沫溢流唇;14—槽体;15—放砂闸门;16—给矿管(吸浆管);17—溢流堰;18—溢流闸门;19—闸门壳(中间室外壁);20—砂孔;21—砂孔闸门;22—中矿返回孔;23—直流槽前溢流唇;24—电动机及带轮;25—循环孔调节杆
①盖板上装有18~20个导向叶片(又叫定子)。这些叶片倾斜排列,与半径成55°~65°倾角,其对叶轮甩出的矿浆流具有向导作用。在盖板上的两导向叶片之间开有10~20个循环孔,供矿浆循环用,以增大充气量。
②叶轮与盖板向导叶片间的间隙一般应为5~8mm,过大会对吸气量和电耗造成不利影响。通常,将叶轮、盖板、主轴、进气管和空气筒等充气搅拌零件组装成一个整体部件,这样就可使叶轮和盖板同心装配,以保证叶轮与盖板导向叶片之间的间隙符合要求,而且便于检修和更换。
③在空气筒下部,有一个调节矿浆循环量的循环孔,并且用闸板控制循环量,因此,通过叶轮中心的矿浆量,可以随外界矿量的变化加以调节。在直流槽中,也可使内部矿浆循环,以满足在最大充气量时所需要的叶轮中心给矿量。

XJK型机械搅拌式浮选机工作时,矿浆由进浆管进入到盖板中心处,叶轮旋转产生的离心力将矿浆抛向槽中,于是在盖板与叶轮间形成负压,经由进气管自动地吸入了外界空气。
乐发IIIV吸入的空气和给进的矿浆在叶轮上部混合后又被抛向槽中,于是又产生负压,又吸入空气,如此连续地进行。经过药物作用的矿浆中,欲浮矿物被气泡带至表面形成矿化泡沫层,并被刮板刮出得到精矿。
而不上浮的矿物和脉石则经槽子侧壁上的闸门进入中间室并进入下一浮选槽内,每个或几个槽内矿浆水平的调节,可通过调节闸门上下来完成。
优点:
1.XJK浮选机通过转子高速旋转,在高速搅拌区内形成负压,导致自吸空气和矿浆,因此不需要外加充气装置;
乐发IIIV2.浮选机在生产操作时可调节进入叶轮的循环矿浆量,因而不论进入槽内矿浆量的波动如何,均可达到调节操作条件的目的。
缺点:
1.XJK浮选机容易出现空气弥散不佳,泡沫不够稳定,易产生“翻花”现象,不易实现页面自动控制;
2.浮选槽为间隔式,矿浆流速受闸门限制,致使流通压力降低,浮选速度减慢,粗而重的矿粒容易沉淀;
3.叶轮与盖板磨损较快,造成充气量减少且不易调节,难以适应矿石性质的变化,分选指标不稳定。
您可以在下面表格填写您的需求信息,我们的技术与销售人员会尽快与您取得联系。为保证能及时处理您的信息,请务必准确填写您的联系电话!