乐发IIIV温馨提示: 如果你想了解更多信息(如产品价格、参数、规格及处理能力等),请联系鑫海客服,我们竭诚为您提供优质的服务和知识分享,鑫海欢迎您的来访!
微信询价
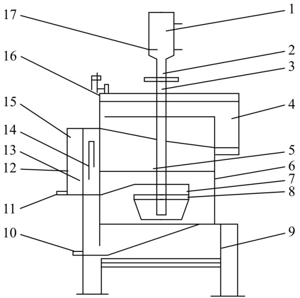
乐发IIIV闪速浮选机是一种比较特殊的浮选机,本身无传动装置,需配置离心砂泵,在高速、高压射流作用下,空气被卷吸到射流束的外层,喷射瞬间,由于矿浆压力的突降、体积的突扩,因而矿物、浮选剂、气泡三者之间发生强烈的碰撞与接触,有用矿物黏附在微细气泡上,并经喉管垂直落入矿化反应管,在反应管内气泡急速上升,而矿浆却强烈下压,造成矿浆与气泡上下交替接触,通过约10s的矿化反应后,便垂直落入反冲假底,经调速孔板向上喷射,矿化完全的气泡经悬浮层二次富集后上升至泡沫层,自流至精矿管,尾矿则自假底沿周边空隙进入尾矿管。
闪速浮选机适用于在磨矿分级回路中处理分级设备的返砂,提前除去部分已单体解离的粗粒有价矿物或含有价矿物较多、较大的连生体,直接获得最终精矿产品或精矿进入下段再选,既可降低循环负荷,改善磨矿分级条件,提高磨矿机处理能力,又可减少矿物过磨,避免有价矿物细化和中间环节的损失,提高有价矿物特别是金、银等贵重金属的回收率。由于闪速浮选的精矿粒度较粗,这种混合精矿脱水比较容易,它的另一个优点是节省了大量药剂和能耗,为主浮选流程提供了稳定的给矿,最终精矿质量较高,选厂处理能力提高。高效闪速浮选机结构如下图所示。

高效闪速浮选机结构图
1—喷射器;2—喉管;3—矿化管;4—泡沫管;5—稳流管;6—槽体;7—反冲假底;8—调流管;9—下支架;10—粗尾矿管;11—循环管;12—尾矿管;13—尾矿通道;14—调整闸门;15—尾矿箱;16—手轮丝杆;17—喷射器支承
乐发IIIV您可以在下面表格填写您的需求信息,我们的技术与销售人员会尽快与您取得联系。为保证能及时处理您的信息,请务必准确填写您的联系电话!